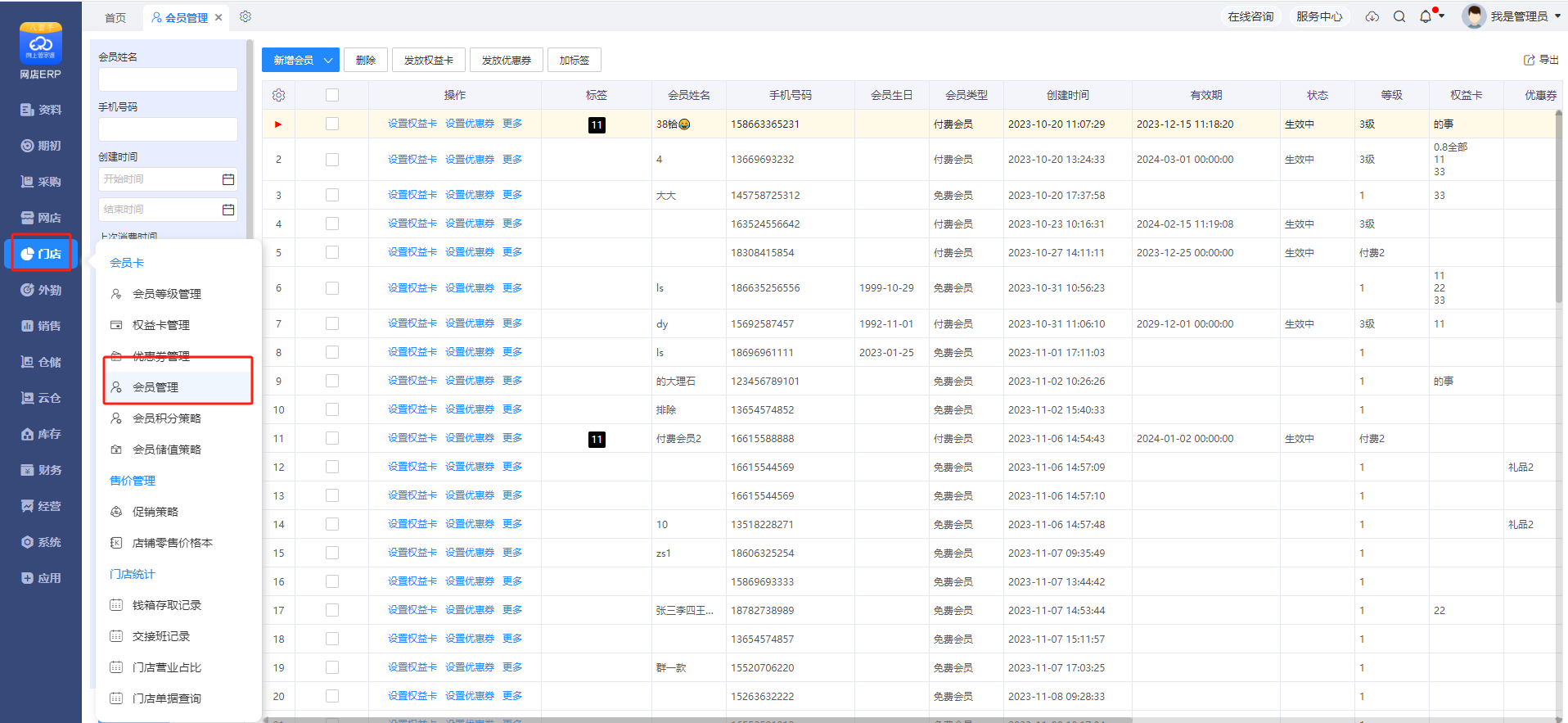
会员管理
一、操作路径:门店——会员管理

二、功能说明
( 新增会员;删除;发放权益卡;发放优惠卷;加标签)

1、新增会员 (将会员信息通过手动新增,表格导入以及网店下载的形式添加进系统)
① 手动新增
选择新增免费会员或者付费型会员

新增免费会员

新增付费会员

PS:新建时选择会员所在的等级以及会员身份的
② 导入新增

下载导入模板,将会员资料填写进Excel模板中,然后导入表格批量新增会员信息

③ 下载会员(当前版仅本支持下载有赞平台的会员资料)

a、选择平台类型和网店
b、根据会员创建时间选择下载线上会员的范围
c、将平台上的会员等级与ERP系统会员等级做对应

2、删除
说明:用于删除掉错误的会员信息(ps: 使用过有数据关联的会员无法删除)

3、发放权益卡与发放优惠卷
说明:一般用于根据某个条件筛选出符合条件的会员,批量进行发放权益卡与优惠卷


4、加标签
说明:根据营销需求将会员进行标记,方便通过标签进行筛选会员以及辨识会员类型
① 标签管理:新增自定义标签名称与颜色


五、 更多操作

① 赠送积分
填写赠送积分的数量与原因

② 储值退款
填写退款金额与支付方式,结算单位选择门店
